√Here 4 Wire Electrical Connectors
Manufactured for flexibility and reliability our wire-to-board connectors are engineered for low-profile mating and secure terminations with products equipped with either a friction lock mechanism or a full lock mechanism. Made of flame-retardant materials wire connectors prevent wires from contacting other wires or exposed metal surfaces which could cause a dangerous fault or short circuit.
Ep0526256a2 Connectors Google Patents
12022015 This method of measurement which avoids errors caused by wire resistance is called the Kelvin or 4-wire method.

4 wire electrical connectors. 3 out of 5 stars based on 8 reviews 8 ratings Current Price 999 9. Four-terminal sensing 4T sensing 4-wire sensing or 4-point probes method is an electrical impedance measuring technique that uses separate pairs of current-carrying and voltage-sensing electrodes to make more accurate measurements than the simpler and more usual two-terminal 2T sensingFour-terminal sensing is used in some ohmmeters and impedance analyzers and in wiring. Manufactured with 16 gauge primary wire.
Ideal34 Yellow In-Sure 4-Port Connector 100-Pack Shop this Collection. All that you. It fits a wide clamping range of 02 mm.
This new connector is fully re-useable - no screwdriver is needed. HelaCon releasable wire connectors provide the best solution for joining solid stranded and fine-stranded wires. These connectors are the most commonly used in the trailer industry and will work with any trailer or electrical application.
The proper fixing can be visually checked through the clear shell. All in all this compact size connector is an allrounder for all types of wires. In this video I show you how to connect electrical wires together.
This tutorial is for people that feel comfortable working with electricity. Ideal451 Yellow WING-NUT Wire Connectors 250-Pack Shop this Collection. For fast and easy disconnect.
Glarks 300Pcs 63mm 4 Pin Way Electrical Automotive Wire Connector Male Female Socket Plug and Terminals Kit for Motorcycle Bike Car Boats 30Set 63mm 4P 44 out of. The proper fixing can be visually checked through the transparent housing. HelaCon releasable connectors provide the best solution for joining solid stranded and fine-stranded wires.
4-way 4 wire square molded connectors feature terminals that are molded with Easy Grip. Our LCEDI connectors offer both low-voltage differential signaling LVDS and embedded DisplayPort eDP applications. A wire-to-board connector connects a wire to a printed circuit board PCB enabling connectivity between circuits.
Smart Home Display Charcoal. Deutsch-Englisch Wrterbuch und Suchmaschine fr Millionen von Deutsch-bersetzungen. This new connector is fully re-useable no screwdriver is needed.
Wire connectors are UL Listed fasteners used to make a tight connection with little interference between two or more electrical wires in an electrical box. Viele bersetzte Beispielstze mit four wire connector. Product Title SCOSCHE GM07B - 2000-up GM Wire Harness Connector.
The push-in connector can be used with solid wires without opening the lever - just push-in the wire. GoogleNest Hello Wired Smart Wi-Fi Video Doorbell Nest Hub 1st Gen 7. The push-in connector can be used with solid wires without opening the lever just push in the wire.
Our economy power EP connectors. PES 5 Packs of 4 Pin Way Wire Connector Plug Car Auto Waterproof Electrical Connector And Plug Socket Kit with Wire AWG Gauge Marine. It fits a wide clamping range of 02 mm.
Special connecting clips called Kelvin clips are made to facilitate. All in all this compact size connector is an allrounder for all types of wires.
Us7255592b1 Electrical Wire Connector Google Patents
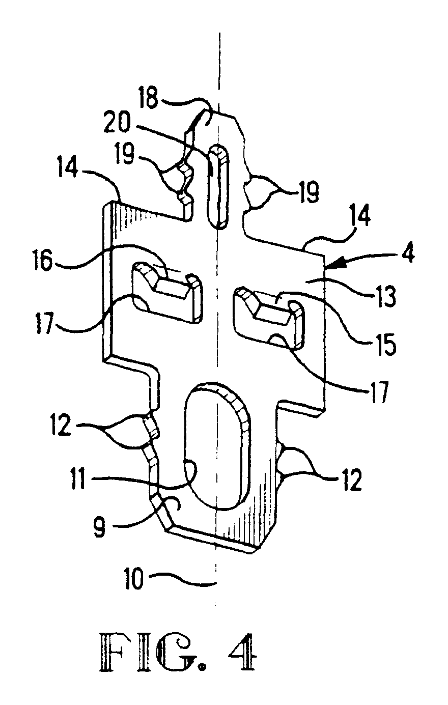
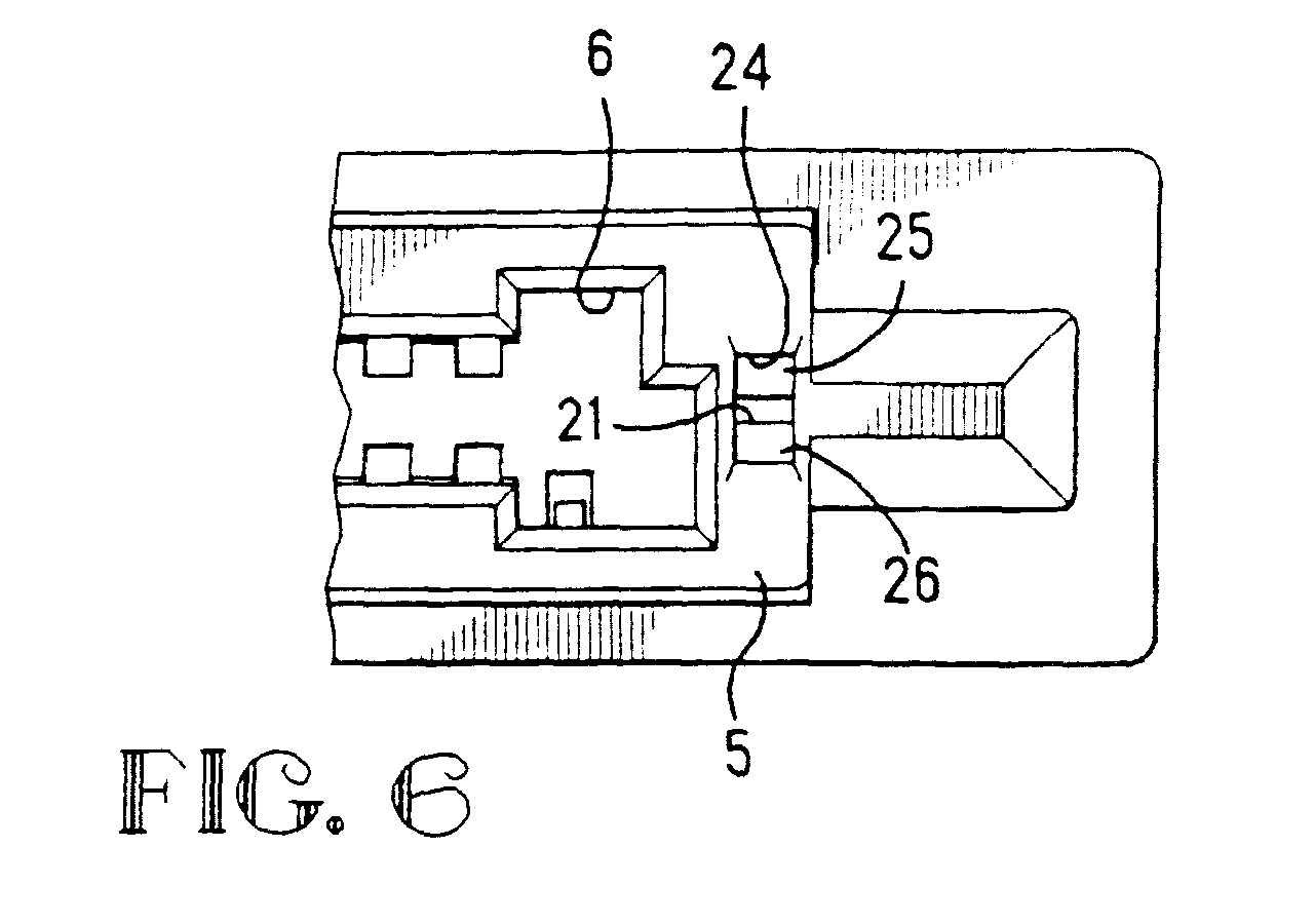
Ep0735626a3 Electrical Connector With Boardlock Retention Feature Google Patents
Ep0232958a1 Cable Termination Assembly Nipping And Knuckling Machine And Method Google Patents
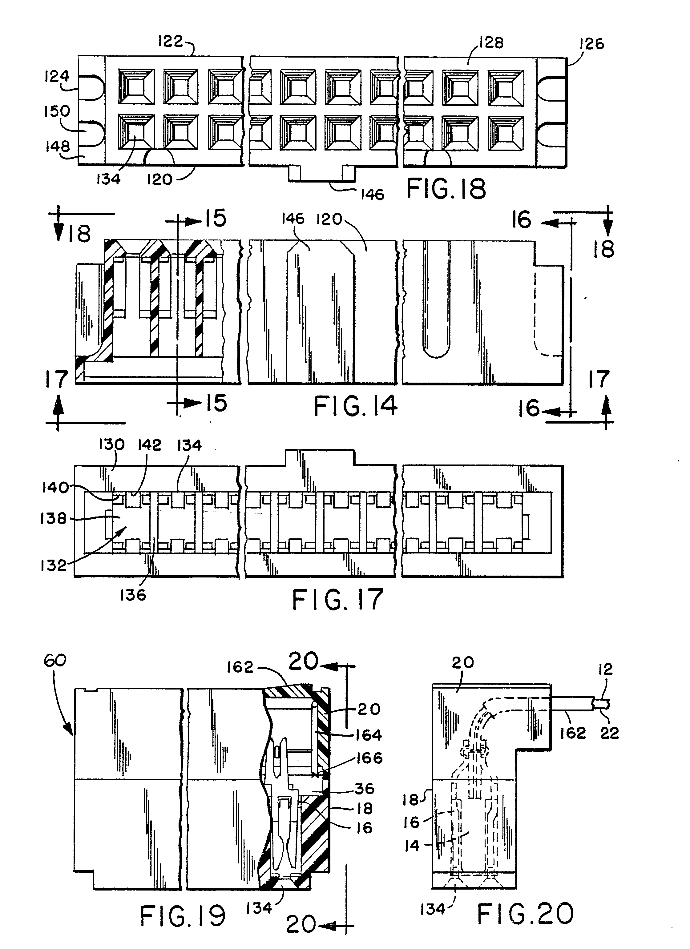
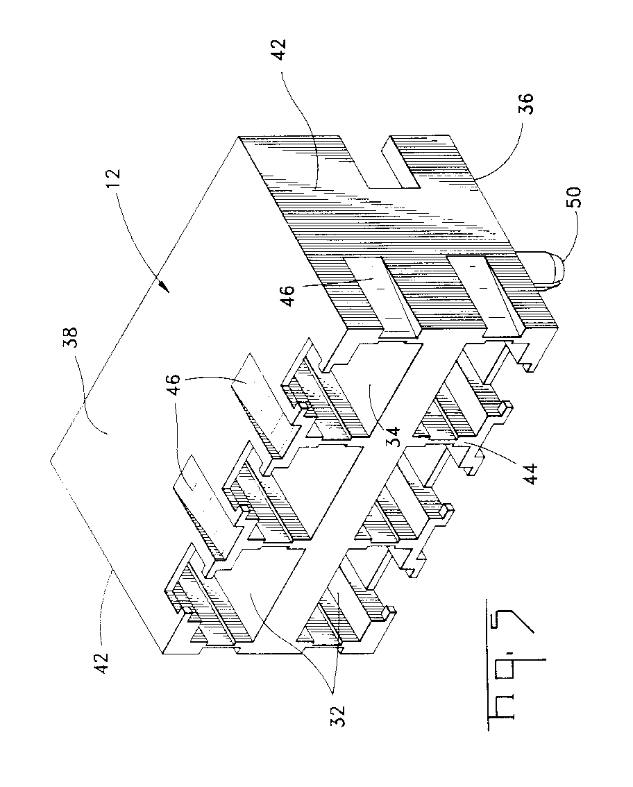
Us6979222b2 Molded Electrical Connector With Plural Paired Insulation Displacement Contacts Google Patents
Ep0735626a3 Electrical Connector With Boardlock Retention Feature Google Patents
Ep1526606a1 Triaxial Antenna Coil Google Patents
Ep0232958a1 Cable Termination Assembly Nipping And Knuckling Machine And Method Google Patents
Ep0635904a2 Electrical Terminal For Use With Short Circuit Spring Contacts Google Patents
Ep0232958a1 Cable Termination Assembly Nipping And Knuckling Machine And Method Google Patents
Us7909638b2 Electrical Connector Assembly Having Connector Position Assurance Device Google Patents
Us7226299b2 Circular Electrical Connector Google Patents
Ep1278269a2 Connector Terminal Google Patents
Ep0425130a2 Electrical Connector With Hinged Secondary Lock Google Patents
Ep0759649a1 Improvements In Or Relating To Electrical Terminals Google Patents
Us6290524b1 System For Varying Capacitive Coupling Between Electrical Terminals Google Patents
Us20120148196a1 Versatile System For Configurable Hybrid Fiber Optic Electrical Connectors Google Patents
Us7880103b2 Microswitch With Push In Wire Connector Google Patents
De202009015299u1 Multiple Wire Connector Google Patents
Ep0732776a1 High Performance Shielded Connector Google Patents
Posting Komentar untuk "√Here 4 Wire Electrical Connectors"